Quadro Eléctrico BA2CF

Quadros de controlo para duas eletrobombas de águas residuais.

Categorias: Quadros Elétricos
Quadros eléctricos de controlo para sistemas de águas residuais com duas eletrobombas. Inclui alternância automática entre bombas para desgaste uniforme, controlo de nível por interruptores de boia, proteção térmica contra sobrecargas e proteção contra funcionamento a seco. Projetados para estações elevatórias de esgotos, poços de drenagem e instalações de esvaziamento em parques subterrâneos.

Aplicações

  • Águas Residuais
  • Águas Pluviais

Dados Técnicos

Detalhes Técnicos

Tensão 220 - 230V* ~ / 380 - 400V* ~
Frequência 50-60 Hz
Grau de Proteção IP 55
Temperatura -5ºC / + 45ºC
Material da Caixa ABS

Aplicações

  • Águas Residuais
  • Águas Pluviais

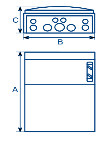
Dimensões do Quadro (Exterior)

Esquema de dimensões

Nota: Clique nas linhas da tabela para as destacar e comparar modelos.

Material A (mm) B (mm) C (mm) Nota
ABS 436 310 147 Com tampa transparente com proteção UV

QUADROS ELÉCTRICOS DE CONTROLO P/ ÁGUAS RESIDUAIS (Duas eletrobombas) - CHINT

Nota: Clique nas linhas da tabela para as destacar e comparar modelos.

Referência Código Regulação Térmica HP KW Voltagem
D2X 230 BA2CF - 3 1082520003 2,5 - 4 A 0,33 - 0,5 0,25 - 0,37 N + 1~ 230V
D2X 230 BA2CF - 4 1082520004 4 - 6 A 0,75 - 1 0,55 - 0,75 N + 1~ 230V
D2X 230 BA2CF - 5 1082520005 5,5 - 8 A 1 0,75 N + 1~ 230V
D2X 230 BA2CF - 6 1082520006 7 - 10 A 1,5 1,1 N + 1~ 230V
D2X 230 BA2CF - 7 1082520007 9 - 13 A 2 1,5 N + 1~ 230V
D4X 230 BA2CF - 2 1082540002 1,6 - 2,5 A 0,75 - 1 0,55 - 0,75 N + 3~ 400V
D4X 230 BA2CF - 3 1082540003 2,5 - 4 A 1,5 - 2 1,1 - 1,5 N + 3~ 400V
D4X 230 BA2CF - 4 1082540004 4 - 6 A 3 2,2 N + 3~ 400V
D4X 230 BA2CF - 5 1082540005 5,5 - 8 A 4 3 N + 3~ 400V
D4X 230 BA2CF - 6 1082540006 7 - 10 A 5 3,7 N + 3~ 400V
D4X 230 BA2CF - 7 1082540007 9 - 13 A 5,5 4 N + 3~ 400V

QUADROS ELÉCTRICOS DE CONTROLO P/ ÁGUAS RESIDUAIS (Duas eletrobombas) - EATON

Nota: Clique nas linhas da tabela para as destacar e comparar modelos.

Referência Código Regulação Térmica HP KW Voltagem
D2E 230 BA2CF - 3 1083320003 1,6 - 2,4 A 0,33 0,25 N + 1~ 230V
D2E 230 BA2CF - 4 1083320004 2,4 - 4 A 0,5 0,37 N + 1~ 230V
D2E 230 BA2CF - 5 1083320005 4 - 6 A 0,75 - 1 0,55 - 0,75 N + 1~ 230V
D2E 230 BA2CF - 6 1083320006 6 - 10 A 1,5 1,1 N + 1~ 230V
D2E 230 BA2CF - 7 1083320007 10 - 12 A 2 1,5 N + 1~ 230V
D4E 230 BA2CF - 3 1083340003 1,6 - 2,4 A 1 0,75 N + 3~ 400V
D4E 230 BA2CF - 4 1083340004 2,4 - 4 A 1,5 - 2 1,1 - 1,5 N + 3~ 400V
D4E 230 BA2CF - 5 1083340005 4 - 6 A 3 2,2 N + 3~ 400V
D4E 230 BA2CF - 6 1083340006 6 - 10 A 4 3 N + 3~ 400V
D4E 230 BA2CF - 7 1083340007 10 - 12 A 5,5 4 N + 3~ 400V

QUADROS ELÉCTRICOS DE CONTROLO P/ ÁGUAS RESIDUAIS (Duas eletrobombas) - SCHNEIDER

Nota: Clique nas linhas da tabela para as destacar e comparar modelos.

Referência Código Regulação Térmica HP KW Voltagem
D2T 230 BA2CF - 3 1085320003 2,5 - 4 A 0,33 - 0,5 0,25 - 0,37 N + 1~ 230V
D2T 230 BA2CF - 4 1085320004 4 - 6 A 0,75 - 1 0,55 - 0,75 N + 1~ 230V
D2T 230 BA2CF - 5 1085320005 5,5 - 8 A 1 0,75 N + 1~ 230V
D2T 230 BA2CF - 6 1085320006 7 - 10 A 1,5 1,1 N + 1~ 230V
D2T 230 BA2CF - 7 1085320007 9 - 13 A 2 1,5 N + 1~ 230V
D4T 230 BA2CF - 2 1085340002 1,6 - 2,5 A 0,75 - 1 0,55 - 0,75 N + 3~ 400V
D4T 230 BA2CF - 3 1085340003 2,5 - 4 A 1,5 - 2 1,1 - 1,5 N + 3~ 400V
D4T 230 BA2CF - 4 1085340004 4 - 6 A 3 2,2 N + 3~ 400V
D4T 230 BA2CF - 5 1085340005 5,5 - 8 A 4 3 N + 3~ 400V
D4T 230 BA2CF - 6 1085340006 7 - 10 A 5 3,7 N + 3~ 400V
D4T 230 BA2CF - 7 1085340007 9 - 13 A 5,5 4 N + 3~ 400V

Instruções

Antes de instalar leia atentamente as instruções detalhadas. A instalação deve ser sempre efetuada por pessoal qualificado, em conformidade com a legislação em vigor.

Condições de Utilização

  • Altitude Máx. 2000m
  • Nível de Poluição III
  • Tolerância de Tensão +/- 10%
Especificações Detalhadas

Antes de instalar leia atentamente as instruções que se seguem. A instalação deve ser sempre efetuada por pessoal qualificado, em conformidade com a legislação em vigor.

Modo de Funcionamento

Quando o nível de efluentes chegar a 1ª boía (bóia de paragem) o quadro não dá ordem de arranque; só dará ordem de arranque ao alcançar a 2ª bóia (bóia de alternância).

Depois da ordem de arranque entra em funcionamento uma bomba. Se conseguir baixar o nível dos efluentes, a bomba em serviço só irá desligar quando o nível chegar à bóia 1.

Durante o ciclo normal de trabalho entre o nível da bóia 1 e 2, o quadro irá ligar alternadamente as bombas.

Se a opção de montagem for para águas pluviais com 3 bóias, a bóia nº 1 irá realizar a função da bóia de paragem e bóia de alternância (conforme esquema).

Se durante o ciclo de trabalho de uma bomba o nível atingir a 3ª bóia (bóia de reforço), o quadro irá dar ordem de arranque à 2ª bomba. A bomba de reforço também irá receber ordem de arranque se a 2ª boia estiver a dar sinal durante 10 min (função programável 3/5/10 min ou desligado).

Em funcionamento, a(s) bomba(s) só irão desligar quando o nível chegar à bóia de paragem.

Alarmes e Segurança

Em caso de avaria das bóias 2 e 3, o quadro irá dar ordem de arranque às duas bombas quando o nível dos efluentes alcançar a 4ª bóia (bóia de alarme) e desligam na 1ª bóia. Nesta situação, o quadro irá accionar o alarme (besouro).

O alarme também será accionado se o nível dos efluentes atingir a bóia nº 4 (bóia de alarme por sobrenível).

Em caso de avaria por falta de sinal da bóia nº 1, o quadro irá trabalhar por comando temporizado; só irá actuar quando o nível de efluentes chegar à bóia de alarme, ligando as duas bombas e acionando o besouro. Quando baixar o nível e a bóia de alarme deixar de dar sinal, as bombas desligam após uma temporização pré-seleccionada (5 ou 15 s).

Manutenção e Proteção

O quadro dispõe de um ciclo de manutenção para evitar a sedimentação na bóia de paragem. Se o nível chegar à bóia 1 e após 60 min não se registrar qualquer funcionamento das bombas, uma delas irá ligar e só desligará quando desactivar a bóia de paragem.

Quando for dada a ordem de arranque em simultâneo das bombas, para evitar o golpe de ariete, elas ligam com um intervalo entre si de 3 ou 10 s. Na paragem das bombas, também há um intervalo de dois segundos entre elas.

Nota: Todos os contactos externos de comando são livres de tensão.

Relé de Nível

Esquema de dimensões
Regulação de Consumo
Regulação de Consumo

Esquemas de Montagem

Esquema de Montagem (Águas Pluviais)
Esquema de Montagem (Águas Pluviais)
Esquema de Montagem (Águas Sépticas)
Esquema de Montagem (Águas Sépticas)
Assistência Técnica

Não encontrou o que procura?

A nossa equipa técnica pode ajudar a selecionar o equipamento certo para a sua instalação. Contacte-nos com os dados do projeto — profundidade do furo, caudal necessário e aplicação.

+351 253 490 740

Pedir Orçamento / Informações

Ligar WhatsApp Pedir Orçamento
WhatsApp