Reservatórios de Pressão com Membrana
Reservatórios de pressão JOVAL com membrana substituível em aço inoxidável. Produzidos com controlo de qualidade rigoroso, estes reservatórios garantem fiabilidade e eficiência em sistemas de captação, pressurização e distribuição de água.
A experiência acumulada da JOVAL e a proximidade com os instaladores permitem-nos oferecer soluções ajustadas às exigências do terreno — com durabilidade superior, facilidade de assistência e reposição garantida em toda a Europa. A membrana interior separa totalmente a água do ar, evitando a corrosão do tanque e garantindo uma estabilidade de pressão constante na rede hidráulica.
Aplicações
- Abastecimento urbano e rural.
- Processos industriais e sistemas de pressurização.
- Rega agrícola e jardins.
- Sistemas hidropneumáticos.
- Uso doméstico, agrícola e industrial.
Dados Técnicos
Especificações Técnicas
| Material | Aço Inoxidável AISI 304 (1.4301) |
|---|---|
| Membrana | Membrana (Substituível) |
| Temperatura Máxima | -10ºC / +99ºC |
| Pressão Máxima | 8 bar / 10 bar |
| Pré-carga | 2 bar |
| Normas | Diretiva Europeia 2014/68/UE (Equipamentos sob Pressão) |
Aplicações
- Abastecimento urbano e rural.
- Processos industriais e sistemas de pressurização.
- Rega agrícola e jardins.
- Sistemas hidropneumáticos.
- Uso doméstico, agrícola e industrial.
Lista de Materiais
| Pos. | Descrição | Material |
|---|---|---|
| 1 | Corpo | Aço Inox AISI 304 (1.4301) |
| 2 | Membrana | EPDM |
| 3 | Flange | Aço Inox AISI 304 (1.4301) |
Dimensões e Modelos - Vertical
Nota: Clique nas linhas da tabela para as destacar e comparar modelos.
| Modelo | Capacidade (L) | Pressão Máxima (Bar) | D (mm) | A (mm) | C (") |
|---|---|---|---|---|---|
| 20 V | 20 | 10 | 270 | 420 | 1" |
| 24 V | 24 | 10 | 270 | 485 | 1" |
| 60 V | 60 | 10 | 380 | 860 | 1" |
| 100 V | 100 | 10 | 450 | 910 | 1" |
| 200 V | 200 | 8/10 | 550 | 1140 | 1 1/4" |
| 300 V | 300 | 8/10 | 630 | 1280 | 1 1/4" |
| 500 V | 500 | 8 | 780 | 1460 | 1 1/4" |
| 750 V | 750 | 8 | 780 | 1850 | 1 1/4" |
| 1000 V | 1000 | 8 | 940 | 1800 | 2" |
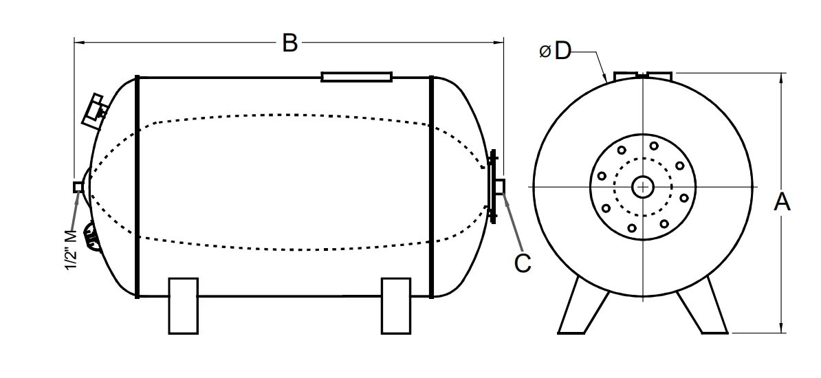
Dimensões e Modelos - Horizontal
Nota: Clique nas linhas da tabela para as destacar e comparar modelos.
| Modelo | Capacidade (L) | Pressão Máxima (Bar) | D (mm) | B (mm) | A (mm) | C (") |
|---|---|---|---|---|---|---|
| 20 H | 20 | 10 | 270 | 420 | 300 | 1" |
| 24 H | 24 | 10 | 270 | 485 | 300 | 1" |
| 60 H | 60 | 10 | 380 | 640 | 410 | 1" |
| 100 H | 100 | 10 | 450 | 740 | 480 | 1" |
Condições de Utilização
- O sistema deve incluir um dispositivo de segurança limitador de pressão.
- Verificação periódica recomendada (anual).
- Pré-carga: Verificar sem água; ajustar conforme etiqueta (+/- 20%)
- Proibido perfurar ou soldar o reservatório
- Garantia de 5 anos contra defeitos de fabrico.